大口徑非球面光學元件的加工和檢測,是制約非球面光學元件技術發展和應用的主要問題,主要表現為加工、 檢測工藝裝備技術落后,制約了大口徑非球面光學元件加工技術的推廣應用. 而目前大口徑非球面磨削的技術在國內尚很落后,突破不了中大口徑光學元件精確磨削的瓶頸.研究大口徑非球面光學元件精密磨削成形技術,是解決大口徑光學元件加工效率低的主要技術途徑,因此超精密磨削技術是數控機床發展的必然趨勢[ 1].本文采用 840D數控系統和西門子 S7 -300 H PLC相結合的思想,突破了中大口徑精密磨削的瓶頸,從而實現了精密磨削.
1 磨削控制系統的設計
控制系統主要由 S I NUMER I K 840D數控系統、 伺服系統、 速度和位置檢測系統等組成. 系統原理框圖如圖 1所示.
可編程控制器( PLC )和數控( NC)是控制系統的核心.根據加工程序段指令進行實時插補與機床位置伺服控制,同時將輔助動作指令通過 PLC發往機床,并接受通過可編程控制器返回機床各部分信息, 以決定下一步工作.本機床要求 NC可控制五個軸(三個進給軸 X、 Y、 C,二個旋轉軸 A、 B )[ 2- 3].
控制系統是由數控單元、 驅動單元、 PLC模塊以及人機界面等幾部分組成.
數字操控單元 NCU (Numerical Con t ro lUn i t )是 SI NUMER I K 840D數控體系的操控中間和信息處理中間,數控體系的直線插補、 圓弧插補等軌道運算和操控、PLC體系的算術運算和邏輯運算都是由 NCU完結的.
驅動單元為 S I MODRIVE 611D. 611D數字驅動是新一代數字操控總線驅動的溝通驅動, 它分為雙軸模塊和單軸模塊兩種,相應的進給伺服電機可采用 1FT6或許 1FK6系列, 編碼器信號為 1V pp正弦波,可完成全閉環操控.本伺服體系中共有 5個軸,因而我們選用兩個雙軸模塊和一個單軸模塊.
PLC使用的是西門子 SI MAT IC S7 -300的軟件及模塊, 在同一條導軌上從左到右依次為電源模塊( PS) ,接口模塊( I M) ,信號模塊( SM) . PLC的 CP U與 NC的 CP U是集成在 NCU中的. 電源模塊為 PLC和NC提供+ 24 V和+ 5 V電源; 接口模塊用于級之間的互連.
人機界面MMC (Man Machine Communicati on)包括:人機通信中央處理單元 MMC-CPU、 操作員面板OP(Operation pane l )、 機床操作面板MCP(Mach i ne Contro lPanel ) .
2 系統加工原理
在對高精度的光學元件進行精密加工過程中, 僅僅進行一次加工是無法達到精度要求的.系統還要按
照要求對工件進行補償加工,從而完成精度的要求.

2 . 1 初始加工原理
加工時,以軸對稱非球面工件中心為起始點,加工點沿軸對稱非球面母線運動,同時工件繞其旋轉軸旋轉, 這樣在工件表面形成了螺旋狀的加工軌跡.工件表面加工軌跡俯視圖如圖 2所示.
2 . 2 補償加工原理
補償加工軌跡示意圖如圖 3所示.補償加工前,要根據砂輪的初始加工軌跡,擬合出一條連續的誤差曲線, 擬合曲線與理想軌跡(由非球面公式計算得到)之差就是補償加工的進給量.

3 大口徑非球面磨削控制系統的軟件設計
在磨削控制系統中, PLC主要完成控制軟件功能, 而 840D數控系統主要完成管理軟件的功能, 不論是 PLC,還是數控系統, 均需合理的編寫程序.控制系統軟件設計主要包括 PLC控制程序的設計和 CNC程序的設計[ 4- 5].
3 . 1 軟件配置
西門子 840D的系統軟件結構很大程度取決于硬件組成, 840D繼承了框架式數控系統的傳統,采用一體化框架多 CPU模塊組成.機床采用西門子 SINUMERIK 840D數控系統的系統軟件 840DV6 . 2 .該系統軟件的構成如圖 4所示.

MMC-CPU基于人機界面設計,負責輸入、 顯示輸出等,系統軟件為W i ndow s操作系統,便于與外部軟硬件的接口,統一的通訊協議,并可以擔當復雜數學運算, 提供良好其他高級編程語言的平臺. NC-CPU基于數控運算控制. PLC-CP U由西門子可編程器 S tep7設計,負責機床運動控制, 主要參與邏輯開關量的控制,完成機床的輔助協調控制. CSB-CPU基于多 CP U并行運行的控制理念,負責 CP U之間的協調工作.
3 . 2 PLC程序的軟件設計
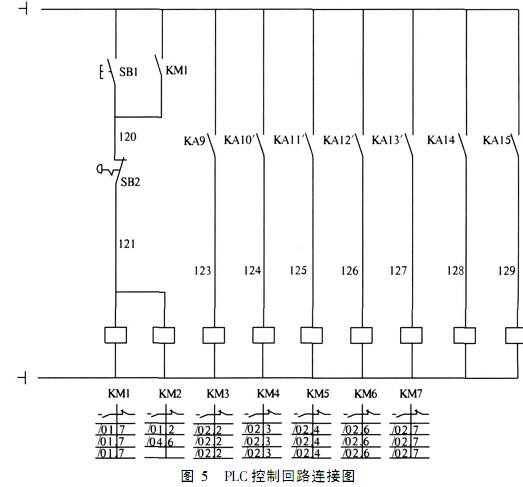
西門子 840D數控系統的 PLC設計是采用 STEP7語言嵌入 840D中, STEP7編程軟件的結構秉承了西門子硬件的設計思想,仍然采用模塊化結構[ 6], PLC控制回路連接圖如圖 5所示.

大口徑非球面光學元件的磨削主要分為兩部分:曲線計算和磨削控制. 系統控制流程如圖 6所示.
4 結語本文完成了系統的軟、 硬件設計.實現了手持單元, 系統上下電等控制功能. 由于整個控制所需的各功能都是由 PLC來實現的,因此,大幅度地減小了目標系統的體積, 減少了外部元器件,增加了系統的可靠性. 另外各種功能都是通過軟件編程來實現的,因此, 系統具有升級容易、 擴展性好、 維護性好的優點.
本文由 伯特利數控文章 整理發表,文章來自網絡僅參考學習,本站不承擔任何法律責任。
http://www.bethel-cnc.com/bethel/news/

2024-11
本文以組合式六角亭模型為實例,分析工藝難點與加工可行性,指出該模型的加工難點是模型形狀不規則和整體剛性差,并通過設計新的工藝方案解決加工難點,完成了模型整體的加工。新的加工工藝有助于提高加工效率和精度,為五軸數控加工提供了一個典型案例,對于五軸加工中心數控加工也具有指導作用和重要… [了解更多]
2024-11
宇匠數控 備注:為保證文章的完整度,本文核心內容由PDF格式顯示,如未有顯示請刷新或轉換瀏覽器嘗試,手機瀏覽可能無法正常使用!本文摘要:通過對混聯五軸加工中心自適應深度學習控制方法的 研 究,可 知 此 方 法 的 創 新 之 處 在 于:1)建 立 了 機 床 的 運 動 學 … [了解更多]
2024-11
宇匠數控 備注:為保證文章的完整度,本文核心內容由PDF格式顯示,如未有顯示請刷新或轉換瀏覽器嘗試,手機瀏覽可能無法正常使用!本文摘要:1)本文建立了基于轉角向量和雙弦弓高的局部能量光順算法,該方法以刀心點光順前后最大許用偏移量作為約束,通過計算拐角處微小線段局部能量最優解,可使… [了解更多]
2024-11
在機測量技術由于其成本低、檢測效率高、無需二次裝夾等優勢被廣泛用于零件加工測量當中,使得五軸加工中心和五軸鉆攻中心,同時又兼具測量功能。在機測量系統的構成如圖1所示,硬件部分主要是由高精度探頭、信號接收器、機床整個本體,軟件部分由機床控制系統、測量軟件等組成[8]。待零件加工完成… [了解更多]